Tesla Laser-Scheibenwischer (2019): Schmutz, Windschutzscheibe
Tesla-Laser bruzzelt den Dreck weg

Tesla hat sich einen Laser patentieren lassen, der Glasflächen säubert. AUTO BILD hat sich die Patentschrift genauer angeschaut!
Jetzt dreht Tesla völlig durch: Der Auto-Hersteller um Elon Musk will in Zukunft Lasertechnik zur Scheibenreinigung einsetzen! Ende November 2019 wurde eine Patentschrift des US-Herstellers veröffentlicht – darin geht es um ein Lasersystem, das groben Schmutz von Glasflächen entfernen soll. Die Technik soll wohl vor allem auf der Windschutzscheibe ihre Anwendung finden, allerdings zeigen die Bilder der Patentschrift den Einsatz des Systems auch vor Scheinwerfern, seitlichen Blinkern und einzelnen Sensoren.
Laser soll groben Schmutz lösen

Laut Patentschrift sollen die Laser ähnlich wie Scheibenwaschdüsen angeordnet sein.
Wischer und Laser könnten sich Arbeit teilen
Beide Systeme, also Laser und Wischer, könnten sich in der Praxis also die Arbeit teilen. Während die Laser große, feste Verunreinigungen beseitigen, könnte der einzelne Wischarm Flüssigkeiten von der Windschutzscheibe abziehen.
Auch für Hausdächer denkbar

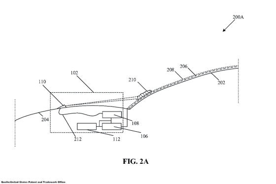
Unter der Haube sitzen die Steuereinheiten für die Schmutz-Laser.
Teslas verrückte Patente
Immer wieder macht Tesla mit ungewöhnlichen Patenten von sich reden. Neben dem neuen Laser und dem großflächigen Einzelwischer für die Scheibe haben die Kalifornier auch eine neue Art der Sitzheizung eingereicht. Sie arbeitet mit einem flüssigen Kühlmittel und ersetzt dadurch den klassischen Ansatz mit Heizdrähten.
Service-Links